找回密码
 立即注册
澳门威尼斯人
U8
U18
海燕招商
A
蓝盾
e世博
islot.
申博亚洲
澳门银河
B
开云
腾博会
德信
C级广告商
吉祥坊
华体会
查看: 206975|回复: 46

[真人] 【实战有奖】申博亚洲玩骰宝成功收米麻将胡了输掉了

[复制链接]

3671

主题

7万

回帖

7293

金币

海燕硕士

积分
217892

万时之王老会员勤奋勋章交易勋章

发表于 2024-10-25 21:01 | 显示全部楼层 |阅读模式

马上注册,结交更多好友,享用更多功能,让你轻松玩转社区。

您需要 登录 才可以下载或查看,没有账号?立即注册

×
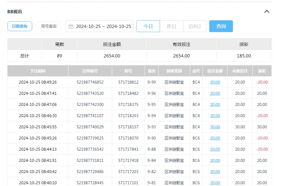
下午存款200块钱玩玩这个区块链色子,开局第一单还是很不错的下注大打出来663点数15成功收米了,第二弹下注下注大打出来234点数9输掉了,第三单继续下注小打出来336点数12输掉了,第四单下注大打出来223点数7还是输掉了,开局赢了一单,后面连黑3单也是郁闷了,好在是第五单继续下注小打出来145点数10成功收米,前面的五单就是这样的命中率不高,前面没有输钱还是很不错的,后面的下注玩的还是很成功的,命中率提高不少打出来100多的盈利也是很不错的结果了) ]: h- L/ h, }" M
& j3 w( M( y8 ~/ T, {4 @( S
360截图20241025205143824.jpg 360截图20241025205241479.jpg 360截图20241025205302601.jpg 360截图20241025205314330.jpg
5 k( C, g% P$ M* z9 X. m  ]/ ?2 O' ]$ ]
区块链骰宝收米了,就继续玩玩老虎机麻将胡了娱乐一下,两个麻将胡了都玩了一遍,全部都是输钱的结果,一个大奖都没有遇到,看来以后这个麻将胡了是没法玩了,没有奖励免费旋转一点意思都没有了,输掉十几块钱止损撤退了3 s1 H! D- B- e/ @
360截图20241025205208624.jpg 360截图20241025205223121.jpg 0 M% R# T4 _5 |1 z

; c! B) x( ~$ ?8 H! H+ ]0 d今天的本场总体还是很不错的打出来收米了,区块链色子玩的还是很成功的,开局玩的不好后面的命中率提高不少,打出来赢钱也是很不错的结果了,后面玩玩麻将胡了两个都是输钱的结果,好在是输掉也不是很多损失十几块钱也就是玩玩娱乐一下,今天的菠菜就这样了1 g, [( q' P: q, c9 B1 U
回复

使用道具 举报

头像被屏蔽

102

主题

9137

回帖

2659

金币

禁止发言

积分
23011

老会员美女勋章

发表于 2024-10-25 21:15 | 显示全部楼层
提示: 作者被禁止或删除 内容自动屏蔽
回复 支持 反对

使用道具 举报

1

主题

1307

回帖

2868

金币

铜牌用户

积分
8411

老会员

发表于 2024-10-25 21:42 | 显示全部楼层
整体下来今天还是收米的,赚得不多但稳得住,你明天继续保持状态,再创佳绩!
回复 支持 反对

使用道具 举报

2605

主题

5万

回帖

6467

金币

钻石用户

积分
175736

万时之王老会员精华勋章勤奋勋章交易勋章

发表于 2024-10-25 21:58 来自手机 | 显示全部楼层
楼主骰宝2800多的流水挺大,盈利了185块钱很不错的了,返水也有不少
回复 支持 反对

使用道具 举报

2605

主题

5万

回帖

6467

金币

钻石用户

积分
175736

万时之王老会员精华勋章勤奋勋章交易勋章

发表于 2024-10-25 21:59 来自手机 | 显示全部楼层
心灵之窗 发表于 2024-10-25 21:42
( g! K) l7 s. i9 H5 @$ J3 X% k& ?整体下来今天还是收米的,赚得不多但稳得住,你明天继续保持状态,再创佳绩! ...

5 R' a7 G9 t4 u% e' Y楼主骰宝玩得很不错的,很有经验令人佩服。老虎机只是亏损十几块钱,没什么影响
回复 支持 反对

使用道具 举报

2605

主题

5万

回帖

6467

金币

钻石用户

积分
175736

万时之王老会员精华勋章勤奋勋章交易勋章

发表于 2024-10-25 22:00 来自手机 | 显示全部楼层
尔不耳不斤 发表于 2024-10-25 21:154 h4 e' V/ w; x5 y6 l% [$ n; D7 I
楼主的运气还是不错的,骰宝给搞出来盈利了不差事了
  J5 E9 k- H5 _  M2 B
盈利了100多块钱挺好的了,玩得很好,继续加油多多赢钱
回复 支持 反对

使用道具 举报

278

主题

1万

回帖

4452

金币

金牌会员

积分
34776

老会员光影行者

发表于 2024-10-26 06:36 | 显示全部楼层
如果总是在输钱,就不要玩了,希望以后都能够有个好的结果了。
回复 支持 反对

使用道具 举报

3872

主题

8万

回帖

8494

金币

海燕硕士

积分
241255

万时之王老会员精华勋章勤奋勋章

发表于 2024-10-26 07:49 | 显示全部楼层
这次的结果确实是有点遗憾只能希望下一次自己努力玩儿吧
回复 支持 反对

使用道具 举报

3872

主题

8万

回帖

8494

金币

海燕硕士

积分
241255

万时之王老会员精华勋章勤奋勋章

发表于 2024-10-26 07:49 | 显示全部楼层
没牙的兔子 发表于 2024-10-26 06:36
5 m1 |* X- ^8 [6 n% K3 q如果总是在输钱,就不要玩了,希望以后都能够有个好的结果了。
3 e8 ^' @4 e  i5 n0 O  O  n: d. E
当然肯定不能让这样的事情一直发生吧,大家都承受不了的
回复 支持 反对

使用道具 举报

3872

主题

8万

回帖

8494

金币

海燕硕士

积分
241255

万时之王老会员精华勋章勤奋勋章

发表于 2024-10-26 07:50 | 显示全部楼层
浴火凤凰 发表于 2024-10-25 22:00- B1 O8 V6 t7 S* t! P
盈利了100多块钱挺好的了,玩得很好,继续加油多多赢钱

% d% F% i5 K: u/ m9 c3 c; A有个这样的结果还是非常满意的,希望能够长期保持一个更好的状态
回复 支持 反对

使用道具 举报

137

主题

1万

回帖

3279

金币

金牌会员

积分
30395

老会员交易勋章光影行者

发表于 2024-10-26 07:57 | 显示全部楼层
没有运气的时候,就是不行的,希望以后都能够有个好的收益了。
回复 支持 反对

使用道具 举报

1555

主题

8万

回帖

1万

金币

海燕硕士

积分
246388

万时之王老会员精华勋章勤奋勋章交易勋章光影行者

发表于 2024-10-26 08:14 | 显示全部楼层
整体下来能够盈利了还是非常高兴的呢,还是要祝贺一下楼主的呢
回复 支持 反对

使用道具 举报

1555

主题

8万

回帖

1万

金币

海燕硕士

积分
246388

万时之王老会员精华勋章勤奋勋章交易勋章光影行者

发表于 2024-10-26 08:14 | 显示全部楼层
浴火凤凰 发表于 2024-10-25 22:00
+ u6 g( ~$ U! A# f. e1 o$ N盈利了100多块钱挺好的了,玩得很好,继续加油多多赢钱
1 k( i" L' r+ w5 R+ }
这个玩的确实是非常好的事情了,希望是可以每天都这样的赚钱
回复 支持 反对

使用道具 举报

1555

主题

8万

回帖

1万

金币

海燕硕士

积分
246388

万时之王老会员精华勋章勤奋勋章交易勋章光影行者

发表于 2024-10-26 08:15 | 显示全部楼层
没牙的兔子 发表于 2024-10-26 06:36
8 _" B4 c' J1 C如果总是在输钱,就不要玩了,希望以后都能够有个好的结果了。
' f* v& n3 d, v$ C- G3 z$ E# i
楼主是盈利的成绩了,毕竟我们都是想要赚钱的呢
回复 支持 反对

使用道具 举报

53

主题

9448

回帖

4170

金币

金牌会员

积分
25753

老会员

发表于 2024-10-26 09:51 | 显示全部楼层
还行,还有一样赚钱,不是都输钱也算是很不错的
回复 支持 反对

使用道具 举报

您需要登录后才可以回帖 登录 | 立即注册

本版积分规则

广告合作|福利汇|论坛简介|钱包教程|手机版|小黑屋|Archiver|海燕论坛

快速回复 返回顶部 返回列表