找回密码
 立即注册
澳门威尼斯人
U8
U18
海燕招商
A
蓝盾
e世博
islot.
申博亚洲
澳门银河
B
开云
腾博会
德信
C级广告商
吉祥坊
华体会
查看: 197119|回复: 50

[电子] 打PP的奥林匹斯之门爆83倍赢270

[复制链接]

562

主题

177

回帖

2510

金币

铜牌用户

积分
8172

老会员

发表于 2024-8-18 15:57 | 显示全部楼层 |阅读模式

马上注册,结交更多好友,享用更多功能,让你轻松玩转社区。

您需要 登录 才可以下载或查看,没有账号?立即注册

×
1.jpg ) Q( Q( M$ g! r
  t/ U) R3 r( n: O" d2 _

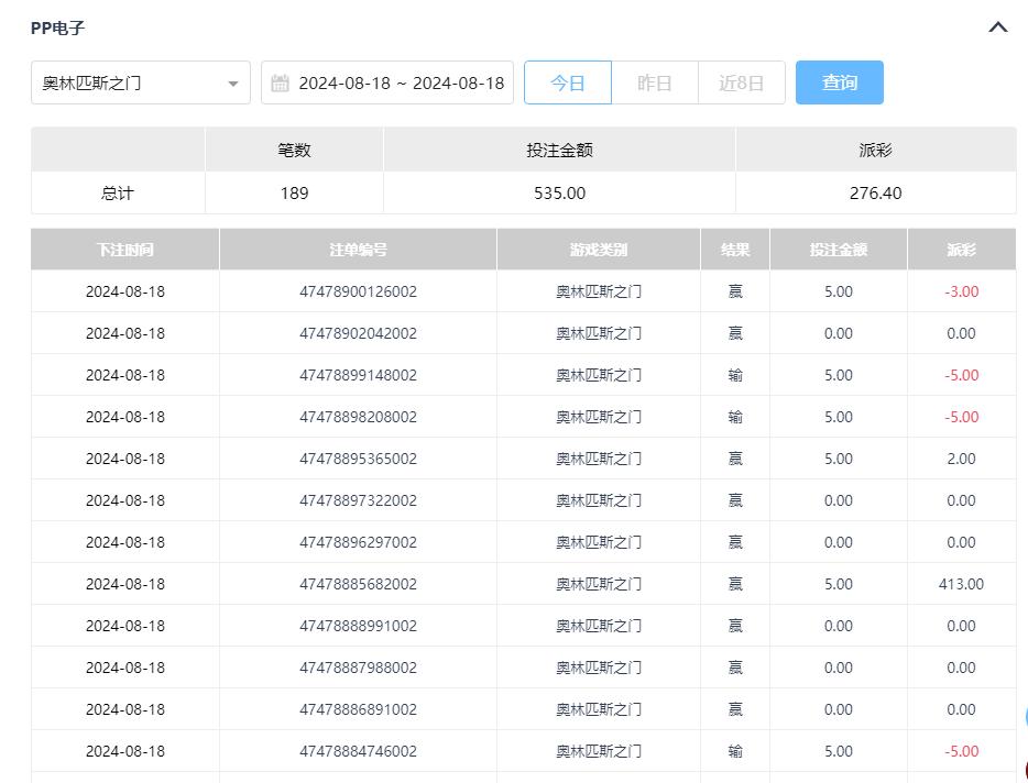
* A! q- l6 |( D6 Y今天的奥林匹斯之门也没差,打了100来转,出过一趟免费转,但免费转的成绩实在不给力,30来倍。; B6 d8 w" {7 g- z  D
4 U) Y" O6 F( X  R, N: x3 [/ z
所幸后面打出了三个乘数奖励图标,加起来22倍,把一个10来块的小奖励摇身一变,变成400多,舒服。' d( {9 C* K4 ]6 b9 I" P: ~, {
2.jpg ' n9 W/ E) `5 j
+ D2 `; Y4 o1 l6 }& k
9 H# ~$ E3 h0 S- V7 n$ G
3.jpg
8 d5 N" Q7 v6 r$ U4 S! C/ V! [/ H# e/ b  p* I7 Q9 c/ G
: e" {  \/ A/ r3 `# K  ?9 R- M8 I
4.jpg % U' A" C2 \# F, d* K  y: C; f, \

* u- z2 L# V, ^9 o. W4 D3 b& n0 F3 O. u" {% |% V
5.jpg
1 d& k# L' F* p. t0 B! W2 y
# c5 \% Z" t7 J& H- c1 N& I! h% u0 v2 p/ z
回复

使用道具 举报

1

主题

1150

回帖

2682

金币

铜牌用户

积分
7346

老会员

发表于 2024-8-18 16:17 | 显示全部楼层
最终把小奖变成大奖,感觉还是挺赚的!继续加油
回复 支持 反对

使用道具 举报

252

主题

1万

回帖

1536

金币

金牌会员

积分
31417

老会员

发表于 2024-8-18 16:18 | 显示全部楼层
老虎机都能够有这样的收益,确实是可以的,希望以后都能够多多盈利的。
回复 支持 反对

使用道具 举报

112

主题

7886

回帖

2357

金币

银牌会员

积分
19977

老会员

发表于 2024-8-18 16:20 | 显示全部楼层
这个倍数就给力,一下就赚不少呢。是很多老虎机玩家所渴望大奖励
回复 支持 反对

使用道具 举报

1934

主题

3万

回帖

4261

金币

钻石用户

积分
100540

万时之王老会员超级精华精华勋章勤奋勋章交易勋章

发表于 2024-8-18 16:52 | 显示全部楼层
老虎机爆奖也是美滋滋事情了 这样的运气也是极好的
回复 支持 反对

使用道具 举报

1934

主题

3万

回帖

4261

金币

钻石用户

积分
100540

万时之王老会员超级精华精华勋章勤奋勋章交易勋章

发表于 2024-8-18 16:53 | 显示全部楼层
气味儿 发表于 2024-8-18 16:20
, c% ~! ~+ `, S3 I这个倍数就给力,一下就赚不少呢。是很多老虎机玩家所渴望大奖励
/ M/ O/ x/ N; \8 `/ y" k
看着人家爆奖 总是感觉自己就是爆不了奖 也是非常郁闷的
回复 支持 反对

使用道具 举报

31

主题

5597

回帖

2209

金币

银牌会员

积分
16391

老会员

发表于 2024-8-18 19:37 | 显示全部楼层
老虎机爆奖真是会很开心,也是你老虎机玩的太好了
回复 支持 反对

使用道具 举报

102

主题

6390

回帖

2606

金币

金牌会员

积分
20822

老会员

发表于 2024-8-18 19:47 | 显示全部楼层
楼主有这样的收获是很不错的成绩,一天的收获不小
回复 支持 反对

使用道具 举报

3400

主题

4万

回帖

4117

金币

钻石用户

积分
116715

万时之王老会员勤奋勋章交易勋章

发表于 2024-8-18 23:00 | 显示全部楼层
楼主成绩很好呀, 也是轻松拿下了270块钱, 这个收获也是很满意的了。
回复 支持 反对

使用道具 举报

3400

主题

4万

回帖

4117

金币

钻石用户

积分
116715

万时之王老会员勤奋勋章交易勋章

发表于 2024-8-18 23:01 | 显示全部楼层
易天一人 发表于 2024-8-18 19:47
/ H7 G1 J8 T7 D% [; N+ m" S楼主有这样的收获是很不错的成绩,一天的收获不小
  \3 q0 ~3 a% b
一天工资到手了, 这成绩也是很可观了啊, 恭喜了啊。
回复 支持 反对

使用道具 举报

3400

主题

4万

回帖

4117

金币

钻石用户

积分
116715

万时之王老会员勤奋勋章交易勋章

发表于 2024-8-18 23:02 | 显示全部楼层
傻傻狠有福 发表于 2024-8-18 19:37
7 J, q3 V- e- J1 G- u5 P老虎机爆奖真是会很开心,也是你老虎机玩的太好了

) ]3 ~1 c, W2 T; H, G9 d2 k这运气来了赢钱也是很容易了, 轻松搞了270了, 也是很开心了啊。
回复 支持 反对

使用道具 举报

3400

主题

4万

回帖

4117

金币

钻石用户

积分
116715

万时之王老会员勤奋勋章交易勋章

发表于 2024-8-18 23:03 | 显示全部楼层
黑雨衣大盗 发表于 2024-8-18 16:18
& L" i  G  L+ z) @" k1 ~老虎机都能够有这样的收益,确实是可以的,希望以后都能够多多盈利的。

, N+ f' v; Z$ `! K* E这也是赚了不少钱了啊, 也是要见好就收了, 保住盈利是关键了。
回复 支持 反对

使用道具 举报

2605

主题

5万

回帖

7358

金币

钻石用户

积分
177578

万时之王老会员精华勋章勤奋勋章交易勋章

发表于 2024-8-18 23:22 来自手机 | 显示全部楼层
盈利了200多块钱挺好的了,玩得很好,继续加油多多赢钱
回复 支持 反对

使用道具 举报

2605

主题

5万

回帖

7358

金币

钻石用户

积分
177578

万时之王老会员精华勋章勤奋勋章交易勋章

发表于 2024-8-18 23:22 来自手机 | 显示全部楼层
莫扎特06 发表于 2024-8-18 23:02
- D* p9 {4 x& P) s; U这运气来了赢钱也是很容易了, 轻松搞了270了, 也是很开心了啊。

( ]2 Y" O+ l2 ^! H0 C楼主玩老虎机运气还是不错的,老虎机能有赢钱是不容易的了
回复 支持 反对

使用道具 举报

2605

主题

5万

回帖

7358

金币

钻石用户

积分
177578

万时之王老会员精华勋章勤奋勋章交易勋章

发表于 2024-8-18 23:23 来自手机 | 显示全部楼层
傻傻狠有福 发表于 2024-8-18 19:37
" F$ H' {. h; V- o! J老虎机爆奖真是会很开心,也是你老虎机玩的太好了
5 W: K" T7 |& B
楼主玩老虎机很有经验的,赢钱的时候多,这也是楼主的经验和实力的体现
回复 支持 反对

使用道具 举报

您需要登录后才可以回帖 登录 | 立即注册

本版积分规则

广告合作|福利汇|论坛简介|钱包教程|手机版|小黑屋|Archiver|海燕论坛

快速回复 返回顶部 返回列表