找回密码
 立即注册
澳门威尼斯人
U8
U18
海燕招商
A
蓝盾
e世博
islot.
申博亚洲
澳门银河
B
开云
腾博会
德信
C级广告商
吉祥坊
华体会
查看: 149225|回复: 50

[真人] 九五 百家乐

[复制链接]

1

主题

2

回帖

0

金币

新手上路

积分
3
发表于 2024-5-29 16:39 | 显示全部楼层 |阅读模式

马上注册,结交更多好友,享用更多功能,让你轻松玩转社区。

您需要 登录 才可以下载或查看,没有账号?立即注册

×
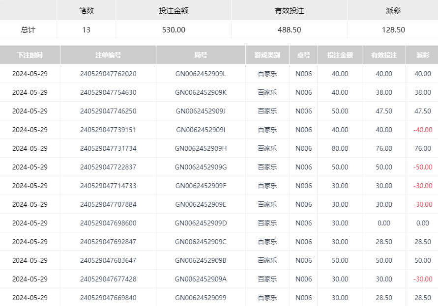
九五之尊信誉可以的。可放心投注。每天一百多就够了。不上头
photo_2024-05-29_16-38-05.jpg
photo_2024-05-29_16-38-10.jpg
回复

使用道具 举报

1万

主题

3322

回帖

8388

金币

版主

积分
44186

美女勋章优秀版主老会员版主勋章超级精华

发表于 2024-5-29 16:44 | 显示全部楼层
楼主心态是真好,能稳定到控制自己投注多少,给你的做法点赞
回复 支持 反对

使用道具 举报

252

主题

1万

回帖

1536

金币

金牌会员

积分
31417

老会员

发表于 2024-5-29 16:52 | 显示全部楼层
楼主的这个运气还是很不错的,希望以后都能够有个好的结果了。
回复 支持 反对

使用道具 举报

162

主题

1万

回帖

242

金币

金牌会员

积分
21624

老会员交易勋章魅力达人

发表于 2024-5-29 17:05 来自手机 | 显示全部楼层
楼主对自己的小目标随时调整也是相当满意啊,继续赢利奥。
回复 支持 反对

使用道具 举报

2607

主题

5万

回帖

7396

金币

钻石用户

积分
177693

万时之王老会员精华勋章勤奋勋章交易勋章

发表于 2024-5-29 17:06 来自手机 | 显示全部楼层
盈利了100多块钱挺好的了,玩得很好,继续加油多多赢钱
回复 支持 反对

使用道具 举报

2607

主题

5万

回帖

7396

金币

钻石用户

积分
177693

万时之王老会员精华勋章勤奋勋章交易勋章

发表于 2024-5-29 17:07 来自手机 | 显示全部楼层
海燕飞扬 发表于 2024-5-29 16:44
/ `' E& M/ X; @/ X: b: P+ u8 E. R楼主心态是真好,能稳定到控制自己投注多少,给你的做法点赞
. K) u" m7 v, L
楼主玩百家乐是比较稳的了,能够做到及时止盈,说明心态和控制力很好
回复 支持 反对

使用道具 举报

2607

主题

5万

回帖

7396

金币

钻石用户

积分
177693

万时之王老会员精华勋章勤奋勋章交易勋章

发表于 2024-5-29 17:08 来自手机 | 显示全部楼层
12358 发表于 2024-5-29 17:05' d+ l1 y& p3 ^- Y. J
楼主对自己的小目标随时调整也是相当满意啊,继续赢利奥。

( z5 J; b. t% Z- ^6 `0 z运气不错的,有了盈利见好就收了,不贪心很好的心态
回复 支持 反对

使用道具 举报

1410

主题

5万

回帖

2163

金币

钻石用户

积分
142705

万时之王老会员勤奋勋章交易勋章

发表于 2024-5-29 17:39 | 显示全部楼层
九五之尊信誉是没问题的 ,楼主也是比较有数的 落袋为安最好了
回复 支持 反对

使用道具 举报

1557

主题

8万

回帖

1万

金币

海燕硕士

积分
248745

万时之王老会员精华勋章勤奋勋章交易勋章光影行者

发表于 2024-5-29 18:11 | 显示全部楼层
还是要祝贺一下楼主的,每天都能够这样的赚钱就爽了
回复 支持 反对

使用道具 举报

1557

主题

8万

回帖

1万

金币

海燕硕士

积分
248745

万时之王老会员精华勋章勤奋勋章交易勋章光影行者

发表于 2024-5-29 18:12 | 显示全部楼层
浴火凤凰 发表于 2024-5-29 17:08
- t( X. a1 m' w) f运气不错的,有了盈利见好就收了,不贪心很好的心态

; H6 `# F1 h9 a这个还是要做到见好就收的,这样才能赢更多的钱呢
回复 支持 反对

使用道具 举报

3880

主题

8万

回帖

9407

金币

海燕硕士

积分
243431

万时之王老会员精华勋章勤奋勋章

发表于 2024-5-29 18:33 | 显示全部楼层
这一次还是轻轻松松的盈利了这么多果然还是把握的挺好的
回复 支持 反对

使用道具 举报

3880

主题

8万

回帖

9407

金币

海燕硕士

积分
243431

万时之王老会员精华勋章勤奋勋章

发表于 2024-5-29 18:33 | 显示全部楼层
allin 发表于 2024-5-29 17:39& H' E' ?# [+ A
九五之尊信誉是没问题的 ,楼主也是比较有数的 落袋为安最好了

, a- h) G- W8 j) O( j: s% _这家公司玩起来确实一点问题都没有,每天都要支持搞一搞
回复 支持 反对

使用道具 举报

3880

主题

8万

回帖

9407

金币

海燕硕士

积分
243431

万时之王老会员精华勋章勤奋勋章

发表于 2024-5-29 18:33 | 显示全部楼层
cwx1994 发表于 2024-5-29 18:11# B1 E: y: z6 e5 j3 O) }/ s
还是要祝贺一下楼主的,每天都能够这样的赚钱就爽了
& W. o2 O' w% S. q# p: f
反正还是希望能够多赚点钱的,有的时候也不要太担心
回复 支持 反对

使用道具 举报

205

主题

7329

回帖

1600

金币

银牌会员

积分
17956

老会员光影行者

发表于 2024-5-29 18:40 | 显示全部楼层
标题该弄好一点了,这样是不太行的哦,很难看明白了
回复 支持 反对

使用道具 举报

2400

主题

8万

回帖

6985

金币

海燕硕士

积分
225480

老会员超级精华精华勋章美女勋章勤奋勋章交易勋章万时之王

发表于 2024-5-29 19:13 | 显示全部楼层
我每天也是来这里玩的呀,信誉当然是没有问题的呀,问题是要有盈利呀
回复 支持 反对

使用道具 举报

您需要登录后才可以回帖 登录 | 立即注册

本版积分规则

广告合作|福利汇|论坛简介|钱包教程|手机版|小黑屋|Archiver|海燕论坛

快速回复 返回顶部 返回列表