找回密码
 立即注册
澳门威尼斯人
U8
U18
海燕招商
A
蓝盾
e世博
islot.
申博亚洲
澳门银河
B
开云
腾博会
德信
C级广告商
吉祥坊
华体会
查看: 569|回复: 89

[彩票] 比特彩票走势不定艰难收904元

[复制链接]

48

主题

2646

回帖

1599

金币

铜牌用户

积分
9727

老会员

发表于 2026-2-28 19:42 | 显示全部楼层 |阅读模式

马上注册,结交更多好友,享用更多功能,让你轻松玩转社区。

您需要 登录 才可以下载或查看,没有账号?立即注册

×
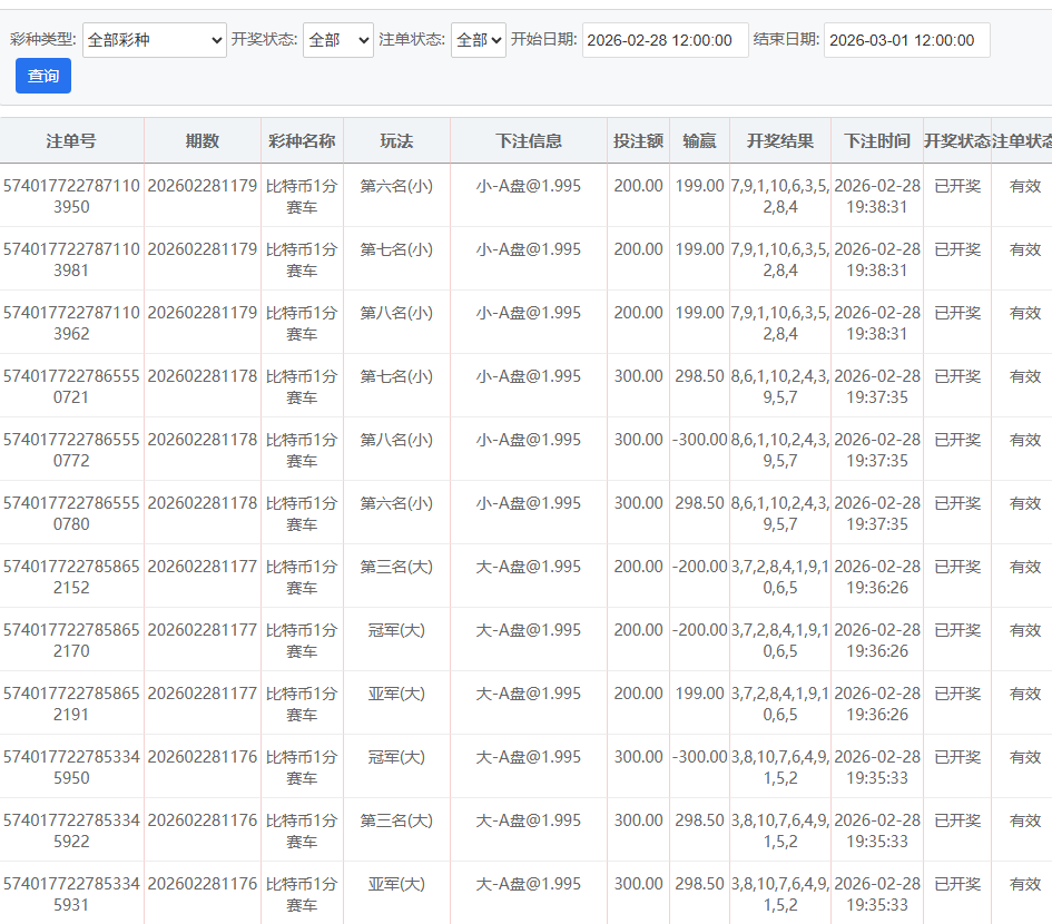
晚上继续着 70-150-200-300-500的战略彩票下注 三定位两面玩法,输了一直往上推到500赢后则从赢时的注码往下推到最低70的位置,投注9000多才收904元;0 K6 S5 E# {! C  n! J. h3 C
* `" t, B0 h% y( ]' W9 S+ ^

: l6 v4 \# {; C+ p6 Z 2.png 3.png 1.png
7 O' f. Q/ h; t' @& r

评分

参与人数 1金币 +8 收起 理由
海燕RG + 8 实战分享

查看全部评分

回复

使用道具 举报

3386

主题

2万

回帖

1万

金币

版主

积分
90121

优秀版主老会员版主勋章超级精华

发表于 2026-2-28 19:50 | 显示全部楼层
主要还是要看胜率,否则很难扛得住了
回复 支持 反对

使用道具 举报

209

主题

1万

回帖

1156

金币

千足金牌会员

积分
42120

老会员

发表于 2026-2-28 20:13 | 显示全部楼层
这次幸运的,下次就得要再稳点才行呀
回复 支持 反对

使用道具 举报

1448

主题

1万

回帖

1万

金币

千足金牌会员

积分
64656

老会员财富勋章精华勋章交易勋章热心会员魅力达人

发表于 2026-2-28 20:29 | 显示全部楼层
这样的盈利已经很不错了
回复 支持 反对

使用道具 举报

7

主题

1万

回帖

7463

金币

千足金牌会员

积分
68796

光影行者

发表于 2026-2-28 20:36 | 显示全部楼层
这节奏太折磨人了,推注推到500才回血,9000砸下去就捞900多,心疼钱包
回复 支持 反对

使用道具 举报

7

主题

1万

回帖

7463

金币

千足金牌会员

积分
68796

光影行者

发表于 2026-2-28 20:36 | 显示全部楼层
笑看人生 发表于 2026-2-28 20:29
" L  Q, u4 C- r这样的盈利已经很不错了

, h8 F. J3 ]8 S9 h1 E: ~能稳住900+已经算硬核了,这走势能抠出来真不容易
回复 支持 反对

使用道具 举报

7

主题

1万

回帖

7463

金币

千足金牌会员

积分
68796

光影行者

发表于 2026-2-28 20:36 | 显示全部楼层
hy188820 发表于 2026-2-28 20:13: u, _  @+ }5 C& v8 o+ G0 t
这次幸运的,下次就得要再稳点才行呀

; X0 t8 |3 j1 U- `) N; |. [7 @# m走势飘忽确实难搞,稳着来才能细水长流,下次别急着冲
回复 支持 反对

使用道具 举报

618

主题

9704

回帖

4182

金币

金牌会员

积分
36068

老会员

发表于 2026-2-28 23:27 | 显示全部楼层
如此丰厚的回报令人赞叹,这是楼主的实力
回复 支持 反对

使用道具 举报

618

主题

9704

回帖

4182

金币

金牌会员

积分
36068

老会员

发表于 2026-2-28 23:28 | 显示全部楼层
蔬菜沙拉 发表于 2026-2-28 20:36- U2 V) B& i$ R% m$ X
走势飘忽确实难搞,稳着来才能细水长流,下次别急着冲
+ {, A! D& Q4 E  Y2 B8 R5 o

' Z3 ~0 V" z: S+ C( J能长期保持盈利状态就实属难得
回复 支持 反对

使用道具 举报

2

主题

7072

回帖

6455

金币

金牌会员

积分
33684
发表于 2026-3-1 02:25 | 显示全部楼层
这推注玩法投九千多才收九百出头,走势不定真够磨人的,这收益和投入比看着也挺闹心
回复 支持 反对

使用道具 举报

2

主题

7072

回帖

6455

金币

金牌会员

积分
33684
发表于 2026-3-1 02:26 | 显示全部楼层
一路前行 发表于 2026-2-28 23:28. j: T/ h- `3 S6 I) g* v7 K7 E3 ^
能长期保持盈利状态就实属难得

3 t' _! R0 I- O; `# \% x走势那么飘能长期稳着赚真不容易,这次收904也算是熬过来了,别贪稳着来就好
回复 支持 反对

使用道具 举报

1542

主题

8万

回帖

1万

金币

海燕硕士

积分
241086

万时之王老会员精华勋章勤奋勋章交易勋章光影行者

发表于 2026-3-1 05:37 | 显示全部楼层
可以赢这么多钱也是非常厉害的了。
回复 支持 1 反对 0

使用道具 举报

1542

主题

8万

回帖

1万

金币

海燕硕士

积分
241086

万时之王老会员精华勋章勤奋勋章交易勋章光影行者

发表于 2026-3-1 05:37 | 显示全部楼层
蔬菜沙拉 发表于 2026-2-28 20:369 l+ _. F  Y8 J$ h
走势飘忽确实难搞,稳着来才能细水长流,下次别急着冲

9 x' z" [/ R* i希望是可以能够保持住这样的好运气吧
回复 支持 反对

使用道具 举报

1542

主题

8万

回帖

1万

金币

海燕硕士

积分
241086

万时之王老会员精华勋章勤奋勋章交易勋章光影行者

发表于 2026-3-1 05:37 | 显示全部楼层
一路前行 发表于 2026-2-28 23:27) Q# e& j  k- b( w/ P  A: o
如此丰厚的回报令人赞叹,这是楼主的实力
3 j' a/ D' t- q% w
楼主确实是非常有实力的玩家了呢。
回复 支持 反对

使用道具 举报

1542

主题

8万

回帖

1万

金币

海燕硕士

积分
241086

万时之王老会员精华勋章勤奋勋章交易勋章光影行者

发表于 2026-3-1 05:37 | 显示全部楼层
一路前行 发表于 2026-2-28 23:28
4 L/ i2 k; I' E+ F4 v3 V$ x- \能长期保持盈利状态就实属难得

: I6 p4 c9 \$ y$ Q1 ]这个确实是非常难得的事情了呢。
回复 支持 反对

使用道具 举报

您需要登录后才可以回帖 登录 | 立即注册

本版积分规则

广告合作|福利汇|论坛简介|钱包教程|手机版|小黑屋|Archiver|海燕论坛

快速回复 返回顶部 返回列表