找回密码
 立即注册
澳门威尼斯人
U8
U18
海燕招商
A
蓝盾
e世博
islot.
申博亚洲
澳门银河
B
开云
腾博会
德信
C级广告商
吉祥坊
华体会
查看: 26065|回复: 74

[彩票] 【实战有奖】威尼斯人台湾宾果连挂后稳收,亏损2450止步

[复制链接]

87

主题

2万

回帖

3493

金币

千足金牌会员

积分
67858

老会员交易勋章魅力达人

发表于 2025-10-6 16:17 | 显示全部楼层 |阅读模式

马上注册,结交更多好友,享用更多功能,让你轻松玩转社区。

您需要 登录 才可以下载或查看,没有账号?立即注册

×
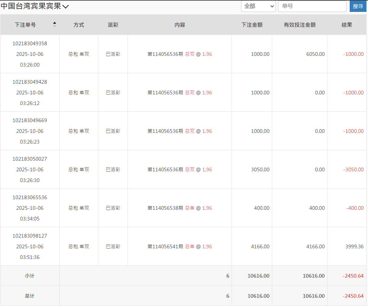
今天下午打了台湾宾果这一轮,整体过程挺曲折,但也算控制住了节奏。大概从下午三点左右开始进场,当时看走势总和“双”连开几期,手痒了,于是轻仓试单。原本打算随便玩玩,结果越看越不对劲,单双频繁切换,让人有点摸不清节奏。6 Y  |; ]7 [/ f4 y, R' e; ~

2 |; U( |6 f' t- _4 [/ y' I5 M- f这轮总共下了六单,前几把基本都在试探走势。结果连续几期都反着来,尤其是那笔3050的“总双”,被直接吃掉,账面一口气红到三千多。那一瞬间心态确实有点晃,手差点又去补仓。后来想到之前吃亏的经验,强行让自己停手,看完那期结果就去洗了个脸。' z! e6 k" S8 O! L; ?# a5 D

0 O$ }- ]& i& A2 c: F1 n" {9 l回来后重新看走势图,发现节奏有点回稳,于是再上两把“总单”试水。最后一单我加到4166,打的第114056541期,终于中回来了3999.36,这口气算是稳了。整盘下来,亏了2450左右,折合人民币不到两千。! f* v6 O, V6 K) \7 u& p
: g* i2 `) W9 F+ D# W" A
账面上虽然是负的,但我个人觉得这轮打得比前几次更“成熟”——不是赢多少的问题,而是我终于没再乱追。这次BBIN那边转入了10616,转出回大厅时剩8165,虽然账面亏损,但过程有节制、心态稳,算是一次小考合格。
/ Z% C% x4 `& g; }2 `0 N2 a' p1 Z: F: O' ]
过去我常常一看挂单就想加码“赢回来”,结果反而输更惨。现在我学会了一件事:赢钱靠机会,止损靠自律。只要不被情绪带走,长期来看反而能少损多赢。
* A# h6 [( A% D, \3 }
% k6 F3 Q6 J3 o" y# f另外,这轮台湾宾果的走势挺诡异的,总和单双跳得快,没有出现连续7期以上的连号。下午那段时间尤其乱,建议后面玩这盘口的兄弟们注意节奏,不要被短线结果误导。可以像我这样——前几期用小注探路,等走势方向稳定后再加码。
$ g+ v$ p8 n& h$ d+ L% z8 C% U  B" {* ~( v+ Y: [
这次我还特地看了下注明细,总金额10616,有效投注全打满,亏损-2450.64。虽然是红的,但我反而挺高兴,因为这说明我守住了底线:没追加、没爆仓。6 q- L  c% B9 ?2 R' u" x& A3 b
, f& s5 b% b4 W. N& n
最后总结一句:5 e4 s8 O; w* k4 q2 o' w
输钱不可怕,乱输才可怕;稳得住,才是真正的赢。
$ d7 x$ s# ^% P! y; H
2 b1 m! o. f1 z这两天论坛不少人也在分享台湾盘的节奏,我的经验是——宁可打慢,也不要乱节奏。未来几天我会继续观察走势,等连号或规律性区间出来,再考虑加仓。今天就到这,休息一会,晚上再看情况。
& u4 z/ @3 O; }) N9 K% _# n* ?/ }# |0 e; i* L6 _
QQ20251006-160203.png QQ20251006-160102.png 1 b! d5 J$ D2 I+ w
. y7 P5 x% b; c& w6 O
8 p& `( U% c2 X* B" q) X% ?& a! D1 n& M
回复

使用道具 举报

1

主题

4994

回帖

4198

金币

金牌会员

积分
23389

老会员

发表于 2025-10-6 16:22 | 显示全部楼层
楼主亏损了还是要止损,回血了一大半还是挺不错了
回复 支持 反对

使用道具 举报

197

主题

6859

回帖

148

金币

银牌会员

积分
13995

老会员交易勋章

发表于 2025-10-6 17:56 | 显示全部楼层
你还玩这个啊,我是真没玩过这类彩票,是彩票没错吧,止损做到位就好
回复 支持 反对

使用道具 举报

7

主题

1万

回帖

7668

金币

千足金牌会员

积分
69512

光影行者

发表于 2025-10-6 19:37 | 显示全部楼层
3050那把真够呛,能忍住不补仓已经赢一半,节奏乱时洗脸是个好招
回复 支持 反对

使用道具 举报

3400

主题

4万

回帖

4115

金币

钻石用户

积分
116711

万时之王老会员勤奋勋章交易勋章

发表于 2025-10-6 19:48 | 显示全部楼层
老哥还是低调点吧, 亏损2450, 也是输太多了, 还是要及时收手,真不敢继续了
回复 支持 反对

使用道具 举报

3400

主题

4万

回帖

4115

金币

钻石用户

积分
116711

万时之王老会员勤奋勋章交易勋章

发表于 2025-10-6 19:49 | 显示全部楼层
蔬菜沙拉 发表于 2025-10-6 19:37
  e+ c' [7 V( ^1 q3 f/ X3050那把真够呛,能忍住不补仓已经赢一半,节奏乱时洗脸是个好招

8 ~& I, j1 W; I3 l  Q/ C! A! Y, U- P玩菠菜还是量力而行吧, 别玩太大了, 输太多了, 也是很影响心情了。
回复 支持 反对

使用道具 举报

3400

主题

4万

回帖

4115

金币

钻石用户

积分
116711

万时之王老会员勤奋勋章交易勋章

发表于 2025-10-6 19:49 | 显示全部楼层
二电厂哥 发表于 2025-10-6 17:56
) v+ N4 G7 H, l3 [4 x你还玩这个啊,我是真没玩过这类彩票,是彩票没错吧,止损做到位就好

7 U/ S9 I& P8 I( I亏损了2450也是输太多了, 这钱能干很多事的了啊, 也是很遗憾了。
回复 支持 反对

使用道具 举报

3400

主题

4万

回帖

4115

金币

钻石用户

积分
116711

万时之王老会员勤奋勋章交易勋章

发表于 2025-10-6 19:50 | 显示全部楼层
shunlifeiup 发表于 2025-10-6 16:22
/ g6 ]6 R0 |6 Q' `6 K3 @% _# Z楼主亏损了还是要止损,回血了一大半还是挺不错了

3 K7 m8 Z5 M; n/ Z* E损失惨重了呀, 输了这么多, 想回血都是很困难了啊, 还是休息冷静一下吧。
回复 支持 反对

使用道具 举报

371

主题

1556

回帖

6794

金币

银牌会员

积分
17772

老会员交易勋章

发表于 2025-10-6 21:07 | 显示全部楼层
能够及时做到止损啊 还是很不容易的   及时调整吧!
回复 支持 反对

使用道具 举报

52

主题

2万

回帖

3293

金币

铂金用户

积分
70513

老会员光影行者

发表于 2025-10-7 02:34 | 显示全部楼层
别急着追,理性把握,稳住节奏,总会有赚钱的时候,节制至关重要
回复 支持 反对

使用道具 举报

52

主题

2万

回帖

3293

金币

铂金用户

积分
70513

老会员光影行者

发表于 2025-10-7 02:34 | 显示全部楼层
蔬菜沙拉 发表于 2025-10-6 19:37
+ B' `: @  s/ p0 U. Z* q3050那把真够呛,能忍住不补仓已经赢一半,节奏乱时洗脸是个好招

1 p( \( r" d( r$ h# H( y/ S3050那把确实有点狼狈,不过威尼斯人台湾宾果稳住节奏,亏损2450也算是及时止损
回复 支持 反对

使用道具 举报

2382

主题

8万

回帖

6093

金币

海燕硕士

积分
222335

老会员超级精华精华勋章美女勋章勤奋勋章交易勋章万时之王

发表于 2025-10-7 05:46 | 显示全部楼层
输掉了2000多块能够止损离开也是比较理智的一个人吧
回复 支持 反对

使用道具 举报

2382

主题

8万

回帖

6093

金币

海燕硕士

积分
222335

老会员超级精华精华勋章美女勋章勤奋勋章交易勋章万时之王

发表于 2025-10-7 05:46 | 显示全部楼层
whywhy 发表于 2025-10-7 02:34
' m4 |  s7 [" t8 F3050那把确实有点狼狈,不过威尼斯人台湾宾果稳住节奏,亏损2450也算是及时止损 ...
2 I0 u9 r/ C- \  G1 O& e, |
反正自己的节奏要把握好,不然输的就是自己的钱
回复 支持 反对

使用道具 举报

2382

主题

8万

回帖

6093

金币

海燕硕士

积分
222335

老会员超级精华精华勋章美女勋章勤奋勋章交易勋章万时之王

发表于 2025-10-7 05:46 | 显示全部楼层
whywhy 发表于 2025-10-7 02:34
6 b6 v1 ^! u' B1 d  E7 A别急着追,理性把握,稳住节奏,总会有赚钱的时候,节制至关重要
' B. N' E. g2 [" B
这个节奏导致的亏损也是没有办法的事,毕竟输了这么多
回复 支持 反对

使用道具 举报

2382

主题

8万

回帖

6093

金币

海燕硕士

积分
222335

老会员超级精华精华勋章美女勋章勤奋勋章交易勋章万时之王

发表于 2025-10-7 05:46 | 显示全部楼层
莫扎特06 发表于 2025-10-6 19:49
2 p' E5 p" T, d  h2 a亏损了2450也是输太多了, 这钱能干很多事的了啊, 也是很遗憾了。
: J0 e. W8 S- j% Z
输的太多也是要想办法把它搞回来,不然也是难受
回复 支持 反对

使用道具 举报

您需要登录后才可以回帖 登录 | 立即注册

本版积分规则

广告合作|福利汇|论坛简介|钱包教程|手机版|小黑屋|Archiver|海燕论坛

快速回复 返回顶部 返回列表