找回密码
 立即注册
澳门威尼斯人
U8
U18
海燕招商
A
蓝盾
e世博
islot.
申博亚洲
澳门银河
B
开云
腾博会
德信
C级广告商
吉祥坊
华体会
查看: 317016|回复: 108

[真人] 【实战有奖】今天在申博亚洲bbin百家乐盈利204元

[复制链接]

1934

主题

3万

回帖

4261

金币

钻石用户

积分
100540

万时之王老会员超级精华精华勋章勤奋勋章交易勋章

发表于 2025-3-20 04:01 | 显示全部楼层 |阅读模式

马上注册,结交更多好友,享用更多功能,让你轻松玩转社区。

您需要 登录 才可以下载或查看,没有账号?立即注册

×
今天在申博亚洲存款450元,依然作战bbin百家乐。3 U" A( O5 P) [8 q1 `. J- H0 W

( u2 M, u$ n2 S上去就是看到一个庄连闲不连的路子,于是起注打了一手30的注码,结果黑了。
4 }1 k- l; a! w/ j- a
: `; U/ U1 v1 g9 C; J- ]0 Y闲出了两个,一般这种牌型,我是会胜进负追混合缆负追一手60打庄的,博闲不过二,但今天看了一下,觉得还是打闲稳妥一点,但注码上没敢负追,也是打了一手30的平注,结果这一手红了。前面两手就是-30+301 e' U: d4 ]( P) Y; E1 P* u

, E. X+ b$ a! ?! a. o  A. D# m红了之后,因为和自己平常一贯的打法等于是反打了,那就13注码干一手吧,直接上了一手90的注码,期待一击而中,奠定心理优势,可惜被神补给干掉了。
# t7 p8 @$ g1 q9 Q+ C) P
  e1 w+ i% u$ x( {! C) V% D QQ20250320-033349.jpg
) t4 p, q. p8 u0 T& k  T& Q+ Z1 J  \" w$ A7 t. q% f1 J% H
输了这一手,有点郁闷,但也是没气馁,回到60的注码,期待赢两手,打回这条缆,结果心想事成,连续两手+60+60,打回来了。
# ~7 Z3 U. N1 Z3 V8 u  u' B' @( ~2 f  D$ v0 P6 n
QQ20250320-033528.jpg
: K, }  a' I6 K7 o# o7 `2 v0 M
2 ~# {! E8 W3 y9 g& `) |- ^1 T回到30基码重新起缆,+30+60又是连赢了两手,此时应该胜进90,看一下流水还差90多块,那最后一手就是打了一手100的注码,结果又是顺利拿下了。2 \% `, W: `: o: D  ^8 S0 c

( K% j1 N9 Y/ I+ }: A QQ20250320-033750.jpg
. K. o8 e$ i8 G* |' Q$ }* M% F/ x& I. Z$ Y+ J
最终搞定了204元的利润,也是提款鸣金收兵了。; j+ j- n, X5 M8 g9 }
& p- G& @  v5 v' P
QQ20250320-033806.jpg QQ20250320-035131.jpg * J2 r( i, P% {1 {! k" ^  T% \8 X
; y% M7 V0 ]; Q6 [3 G2 f5 U2 {
本场战斗,可谓出师不利,且输了一手较大的注码90,但之后自己不急不躁,还是稳住了,最终一波连赢,靠胜进拿下最后一手100的注码,完美实现了前面输一手90的复仇,最终搞定了204元的盈利,也是心满意足了。
1 R# [4 r3 y! N0 B' {* I; ]8 }; D" m4 D( l# Y
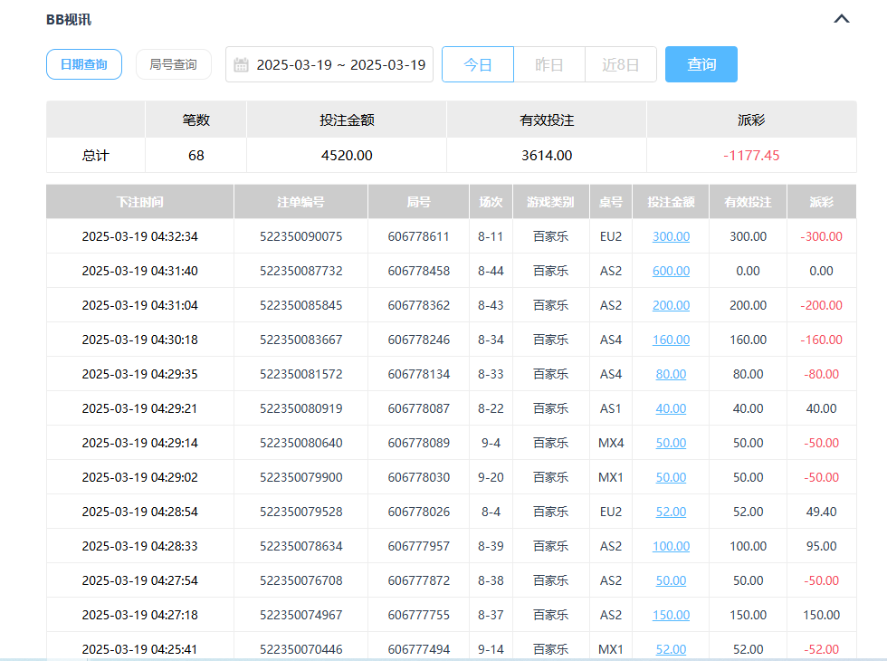
美东时间19号,昨天下午自己其实战斗开局不是很理想,第一场就是二存输了1000多止损的。
0 @: K0 b' ^- J! t0 C6 B8 ?/ [6 I* W8 a" Q" G
QQ20250319-165524.jpg QQ20250319-165614.jpg
. b& m- x0 g; t  K
, r3 S5 p" Q- Y' k1 F这一场战斗胜率非常低下,净输了15手以上,止损过后,自己冷静面对,分多场,慢慢赢了点回来,到昨晚睡觉时,总战绩,当天只输了100多块。
# c9 D  b  _4 N& t& I' Y5 n! v( ^, Z: N' V& j  c  f
今天睡醒了,实战发帖之所以存款450,就是想打30基码的缆(平时存款300一般只打20基码),期待这一场能实现当天的扭亏为盈,结果果然天遂人愿,这一场赢了200多,美东时间19号的战绩,已经由亏损1100多,变成了盈利几十块了。2 u- Z2 i% q! J& }' [! I# o
$ I0 E, e2 |2 F/ s1 `' e: Q0 C
所以,输了一场大的之后,不要急着一场两场就赢回来,可以分为多回合,慢慢打,即使打不回来,也是心态平和,止损线1500以内,无论输多少,都是可以接受,可以做好止损。这样心态平和了,胜率回来一点,扭亏为盈,也是可以水到渠成的。+ h! H! K1 S+ {( Z# |  Q9 @+ y1 f
回复

使用道具 举报

278

主题

1万

回帖

4452

金币

金牌会员

积分
34776

老会员光影行者

发表于 2025-3-20 05:22 | 显示全部楼层
能够有这样的收益,确实是很不错的,希望以后都能够有个好的结果了。
回复 支持 反对

使用道具 举报

2391

主题

8万

回帖

4978

金币

海燕硕士

积分
220861

老会员超级精华精华勋章美女勋章勤奋勋章交易勋章万时之王

发表于 2025-3-20 07:08 | 显示全部楼层
能够赚到钱的时候也是要坚持玩下去这样才能赚到更多的一个钱
回复 支持 反对

使用道具 举报

2391

主题

8万

回帖

4978

金币

海燕硕士

积分
220861

老会员超级精华精华勋章美女勋章勤奋勋章交易勋章万时之王

发表于 2025-3-20 07:08 | 显示全部楼层
没牙的兔子 发表于 2025-3-20 05:229 ^9 G5 V- T! c5 \) Z/ E( v! v
能够有这样的收益,确实是很不错的,希望以后都能够有个好的结果了。

' A- H2 T5 g) ~/ o& z; r6 f" K9 C每天也是希望有一个好的运气出现,这样玩游戏的心情也跟着变好了
回复 支持 反对

使用道具 举报

137

主题

1万

回帖

3279

金币

金牌会员

积分
30395

老会员交易勋章光影行者

发表于 2025-3-20 08:02 | 显示全部楼层
能够盈利200多大洋,确实是很不错的,希望以后都能够有个好的结果了。
回复 支持 反对

使用道具 举报

1053

主题

2万

回帖

8569

金币

铂金用户

积分
74633

老会员交易勋章光影行者

发表于 2025-3-20 09:06 | 显示全部楼层
老哥这次玩的还是很不错的,希望老哥这样的运气是可以继续的
回复 支持 反对

使用道具 举报

1053

主题

2万

回帖

8569

金币

铂金用户

积分
74633

老会员交易勋章光影行者

发表于 2025-3-20 09:07 | 显示全部楼层
小雨点 发表于 2025-3-20 08:02
2 ?2 x: t3 T, }* K能够盈利200多大洋,确实是很不错的,希望以后都能够有个好的结果了。

& x% M5 x1 A+ X6 D是啊,能赚到这么多钱是真的很不的,希望拿给以后都继续
回复 支持 反对

使用道具 举报

3870

主题

8万

回帖

8271

金币

海燕硕士

积分
240794

万时之王老会员精华勋章勤奋勋章

发表于 2025-3-20 10:49 | 显示全部楼层
能够收获了200多个太阳这个还是挺满足的希望后面继续发挥
回复 支持 反对

使用道具 举报

3870

主题

8万

回帖

8271

金币

海燕硕士

积分
240794

万时之王老会员精华勋章勤奋勋章

发表于 2025-3-20 10:49 | 显示全部楼层
飞舞倾城 发表于 2025-3-20 09:072 V; Y& Y$ V/ L3 D2 J
是啊,能赚到这么多钱是真的很不的,希望拿给以后都继续
1 k; a) ^' K* N' Z
轻轻松松就盈利了,真的感觉太厉害了,这也是我们不断追求的目标
回复 支持 反对

使用道具 举报

3870

主题

8万

回帖

8271

金币

海燕硕士

积分
240794

万时之王老会员精华勋章勤奋勋章

发表于 2025-3-20 10:49 | 显示全部楼层
小雨点 发表于 2025-3-20 08:02  x* y( E  l2 `) M+ @2 `
能够盈利200多大洋,确实是很不错的,希望以后都能够有个好的结果了。

# d& K$ }) K* t8 M) X! r9 }果然还是非常不错的一个结果200多个大洋也是挺舒服的
回复 支持 反对

使用道具 举报

3411

主题

8万

回帖

9623

金币

海燕硕士

积分
236127

万时之王老会员精华勋章勤奋勋章交易勋章光影行者

发表于 2025-3-20 14:03 | 显示全部楼层
这个只要最后能够带来这么多的盈利,也是很开心的,需要能够继续的保持这样的盈利
回复 支持 反对

使用道具 举报

3411

主题

8万

回帖

9623

金币

海燕硕士

积分
236127

万时之王老会员精华勋章勤奋勋章交易勋章光影行者

发表于 2025-3-20 14:03 | 显示全部楼层
左西右东 发表于 2025-3-20 10:49
: f- F9 G/ D% v- I& N/ i6 K- H, `1 n果然还是非常不错的一个结果200多个大洋也是挺舒服的

( [2 ~) I2 c' D3 L: N. G不管怎么说,我们玩游戏都还是希望能够有一个好的结果就好了
回复 支持 反对

使用道具 举报

3411

主题

8万

回帖

9623

金币

海燕硕士

积分
236127

万时之王老会员精华勋章勤奋勋章交易勋章光影行者

发表于 2025-3-20 14:03 | 显示全部楼层
左西右东 发表于 2025-3-20 10:49
& k/ {1 c6 U, U9 J轻轻松松就盈利了,真的感觉太厉害了,这也是我们不断追求的目标

3 f5 ^5 V; i5 A3 \" E: q! y- W看别人赚钱就是这么轻松的,自己去玩的时候未必那么顺利啊
回复 支持 反对

使用道具 举报

3411

主题

8万

回帖

9623

金币

海燕硕士

积分
236127

万时之王老会员精华勋章勤奋勋章交易勋章光影行者

发表于 2025-3-20 14:03 | 显示全部楼层
左西右东 发表于 2025-3-20 10:49' ^( V: N% K6 o8 a2 r) G  F. G
能够收获了200多个太阳这个还是挺满足的希望后面继续发挥
+ d! ^9 F) o& I! P
其实这个有那么多的收获,已经非常的好了,相当于能够有一天的工资就好
回复 支持 反对

使用道具 举报

197

主题

6859

回帖

148

金币

银牌会员

积分
13995

老会员交易勋章

发表于 2025-3-20 16:22 | 显示全部楼层

& x" J3 p$ P- Y4 u& s" k赢得漂亮,这就是你的实力不可否认,可以在期待一下更好的下一波了
回复 支持 反对

使用道具 举报

您需要登录后才可以回帖 登录 | 立即注册

本版积分规则

广告合作|福利汇|论坛简介|钱包教程|手机版|小黑屋|Archiver|海燕论坛

快速回复 返回顶部 返回列表