找回密码
 立即注册
澳门威尼斯人
U8
U18
海燕招商
A
蓝盾
e世博
islot.
申博亚洲
澳门银河
B
开云
腾博会
德信
C级广告商
吉祥坊
华体会
查看: 205763|回复: 66

[彩票] 【实战有奖】今天在HH game娱乐城收获208块大洋

[复制链接]

3192

主题

5万

回帖

1723

金币

钻石用户

积分
133687

万时之王老会员精华勋章美女勋章勤奋勋章交易勋章

发表于 2025-1-25 18:30 | 显示全部楼层 |阅读模式

马上注册,结交更多好友,享用更多功能,让你轻松玩转社区。

您需要 登录 才可以下载或查看,没有账号?立即注册

×
本帖最后由 幸运之星 于 2025-1-25 18:31 编辑
7 W. p) I9 L9 Z  \3 d: l7 b& A6 e* M+ I. w

1 \% e1 a; C% h                               
登录/注册后可看大图
2 @0 Q+ n  z" b  u9 {

/ z: x; O/ M9 a( g$ A" h7 T  H今天再大的事,到了明天就是小事,今年再大的事,到了明年就是故事,今生再大的事,到了来世就任人评说了。这就是《人生不怕从头再来》给我的启发。书中的主人从巅峰到低谷再到重生,非常的励志,她教会我们在困境中脱下孔乙己的长衫,放下执念调整好心态,重装上路应对生活中的点点滴滴不平事。人生可以把握的,只是“当下”。过去可以反思,可是已经逝去!未来可以展望,可是尚未到来。曾经的60/70后可以有梦想,且还能凭自己的努力去实现,但现年代不同了,普通人心中哪怕有理想,也要先解决温饱问题,有余力再去追梦想,现在的普通人想跨越阶层是不太可能的事情了。国人越来越被西化,IA让普通人想混口饭吃都变得困难了,真是可悲啊。
$ c3 a+ l% }% K! t6 s. s! O; _3 V
$ i+ o4 ]/ A) X9 C! ?: @9 c4 A* l

* |0 b/ f2 M3 A0 @                               
登录/注册后可看大图

, Z3 O9 z* t/ |
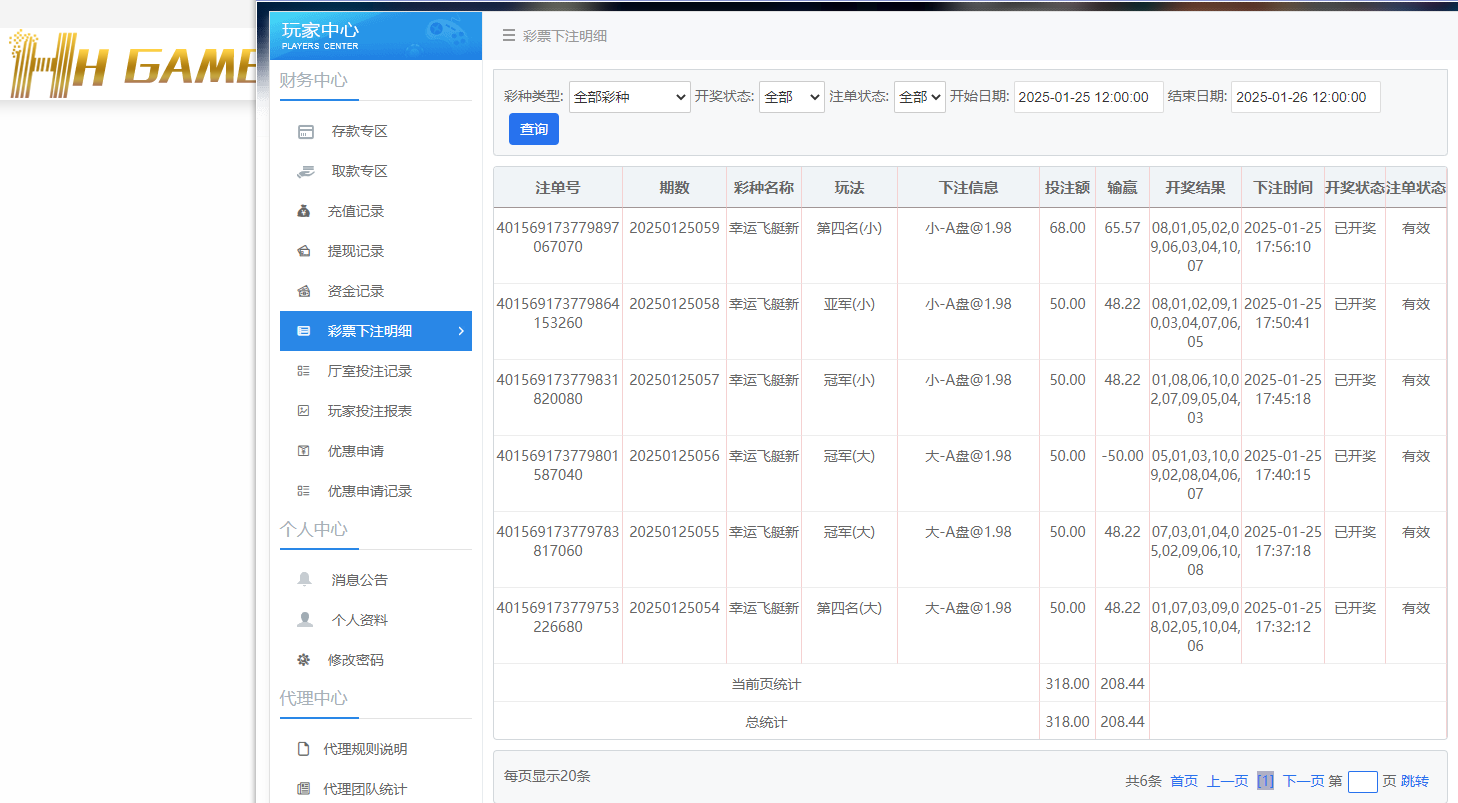
9 M# _( n9 g, _0 q4 B2 ]! {# {5 W今天又到周六了,又是兑换筹码的日子,抽空存了20001去HHgame娱乐城买一张门票,又是流水超多的一天,有点压力,慢慢来打流水吧。+ g, x/ I4 c# F# g3 `; Z
第一手比较看好第四名的位置上出大球,前面已出小大大小小小小小?感觉要反弹大球了,决定博一把大球试试看了,结果开出来了数字09,是大球,顺利拿下了开门红,
+ b9 e/ B' |3 q+ `+ [, S& V4 i0 Q+ P7 x) M
接下来比较看好冠军位置上出大球,前面已出大大大大大大小小大小小大小?感觉要反弹大球了,所以按自己的想法去买了一手大球,
! H7 V  z# r. M  i! P. Q结果开出来了数字07,是大球,继续中奖了。紧接着又比较看好冠军位置上继续出大球,前面已出大大大大大大小小大小小大小大?既然出大球了,那就顺势而为,继续再追一把大球吧,结果开出来数字05,反弹小球了,这一把判断错了,真是无奈了。% l& Q: ~: F. q4 X

6 G0 \9 \+ T: F- {! @$ h紧接着还是比较看好冠军位置上出大球,前面已出大大大大大大小小大小小大小大小?感觉会持续出小球啊,所以追了一把小球,结果开出来了数字01,是小球,判断对了。接着又看好亚军位置出小球,前面已出小大大小小大?感觉要往单挑的路子开出来了,决定反买一把小球,结果开出来了数字01,是小球,又中奖了。
2 j, b' k, F" W( U
5 p3 H6 s$ _& j4 ?: }接着又比较看好第四名位置上出小球,前面已出大小大大大?感觉要反弹小球了,所以博了一把小球,结果开出来了数字02,是小球,又中了一把,打了6手,赢了5把,损失了一手,最终盈利了208块大洋,先不打了,晚上去买买球吧。& T3 x) p+ v9 H1 Y

' e  z+ }* J+ r* ?* q8 b) X
5 _! L8 V" J% r$ C# ]5 ^
                               
登录/注册后可看大图
- z4 X# Q- a: c: u$ Z# }

# N! S, @. v3 e/ N HH投注.png
  Q7 }" O/ K, q1 j" G+ ?% [; s# ]) S/ x
HH娱乐城.png ( r1 Z+ Q, P+ f  V2 m$ d4 k+ J
; m, j% E- f0 a3 I$ f

; j& I1 Y3 N* K3 x
, F" e/ _% j' K9 z. [" i/ F
/ }- c/ _# l1 ^+ o
回复

使用道具 举报

头像被屏蔽

102

主题

9137

回帖

2659

金币

禁止发言

积分
23011

老会员美女勋章

发表于 2025-1-25 18:57 | 显示全部楼层
提示: 作者被禁止或删除 内容自动屏蔽
回复 支持 反对

使用道具 举报

480

主题

3万

回帖

4665

金币

铂金用户

积分
84327

老会员美女勋章勤奋勋章交易勋章

发表于 2025-1-25 19:57 | 显示全部楼层
能够赢出来两百多还是很好的,有这样的结果都是感觉不错
回复 支持 反对

使用道具 举报

31

主题

5597

回帖

2209

金币

银牌会员

积分
16391

老会员

发表于 2025-1-25 20:20 | 显示全部楼层
太好了全部都是赢的,这一次可以收入好多钱了
回复 支持 反对

使用道具 举报

12

主题

3535

回帖

1648

金币

银牌会员

积分
12043

老会员

发表于 2025-1-25 20:23 | 显示全部楼层
赢钱归赢钱,偶尔也要适当歇歇,别让压力把自己搞得太累了,晚上买球记得多看看数据再出手啊!
回复 支持 反对

使用道具 举报

3411

主题

8万

回帖

9623

金币

海燕硕士

积分
236127

万时之王老会员精华勋章勤奋勋章交易勋章光影行者

发表于 2025-1-25 20:37 | 显示全部楼层
这次能够成功的有这么多的收获,这种感觉还是非常的好,希望能够继续的高额
回复 支持 反对

使用道具 举报

3411

主题

8万

回帖

9623

金币

海燕硕士

积分
236127

万时之王老会员精华勋章勤奋勋章交易勋章光影行者

发表于 2025-1-25 20:38 | 显示全部楼层
a东序 发表于 2025-1-25 20:23
# D+ j. V! W; s' S% Z# |赢钱归赢钱,偶尔也要适当歇歇,别让压力把自己搞得太累了,晚上买球记得多看看数据再出手啊! ...
. _. r% |# n3 Y2 j$ |' c8 \
这样赚钱的节奏还是来了的时候,一定要好好的把握住这样的一个运气来呀
回复 支持 反对

使用道具 举报

3411

主题

8万

回帖

9623

金币

海燕硕士

积分
236127

万时之王老会员精华勋章勤奋勋章交易勋章光影行者

发表于 2025-1-25 20:38 | 显示全部楼层
傻傻狠有福 发表于 2025-1-25 20:20
( q# Y9 @: B0 i1 s* j- g/ H太好了全部都是赢的,这一次可以收入好多钱了
& i2 w' Q' R. b$ c: K# P" Q
这种赚钱的感觉一定要还是需要能够继续的,也是很不容易赚钱的呀
回复 支持 反对

使用道具 举报

112

主题

7886

回帖

2357

金币

银牌会员

积分
19977

老会员

发表于 2025-1-25 20:39 | 显示全部楼层

# F  T/ F& P9 R2 P! c+ S那就慢慢磨和赢吧,心急吃不了热豆腐的,按自己的节奏来就好
回复 支持 反对

使用道具 举报

0

主题

9812

回帖

4749

金币

金牌会员

积分
31022

老会员

发表于 2025-1-25 20:51 | 显示全部楼层
能够有这样的收益,还是很不错的,希望以后都能有个好的结果了。
回复 支持 反对

使用道具 举报

2605

主题

5万

回帖

6374

金币

钻石用户

积分
175412

万时之王老会员精华勋章勤奋勋章交易勋章

发表于 2025-1-25 23:46 来自手机 | 显示全部楼层
楼主今天运气真是很不错的,彩票胜率高,收米了两百多块钱挺好的了
回复 支持 反对

使用道具 举报

2605

主题

5万

回帖

6374

金币

钻石用户

积分
175412

万时之王老会员精华勋章勤奋勋章交易勋章

发表于 2025-1-25 23:48 来自手机 | 显示全部楼层
你说的都对 发表于 2025-1-25 20:512 H5 m2 e3 e+ Q' \1 _
能够有这样的收益,还是很不错的,希望以后都能有个好的结果了。
/ c5 M4 w* |5 Z5 M' |, x7 [1 t
楼主真是太厉害了,彩票盈利了200多块钱,战绩可观的,恭喜了
回复 支持 反对

使用道具 举报

2605

主题

5万

回帖

6374

金币

钻石用户

积分
175412

万时之王老会员精华勋章勤奋勋章交易勋章

发表于 2025-1-25 23:48 来自手机 | 显示全部楼层
lantianyun 发表于 2025-1-25 20:38/ C9 p0 f. ~) F8 u7 |; H2 s# R
这样赚钱的节奏还是来了的时候,一定要好好的把握住这样的一个运气来呀 ...
) J+ Z: Y$ M8 q; G; b2 p
楼主玩彩票很有经验的,赢钱的时候多,这也是楼主的经验和实力的体现
回复 支持 反对

使用道具 举报

278

主题

1万

回帖

4452

金币

金牌会员

积分
34776

老会员光影行者

发表于 2025-1-26 07:14 | 显示全部楼层
能够有这样的收益,还是很不错的,希望以后都能够有个好的结果了。
回复 支持 反对

使用道具 举报

1553

主题

8万

回帖

1万

金币

海燕硕士

积分
245432

万时之王老会员精华勋章勤奋勋章交易勋章光影行者

发表于 2025-1-26 08:17 | 显示全部楼层
可以收获这么多还是非常让人羡慕的,祝贺一下楼主成功盈利
回复 支持 反对

使用道具 举报

您需要登录后才可以回帖 登录 | 立即注册

本版积分规则

广告合作|福利汇|论坛简介|钱包教程|手机版|小黑屋|Archiver|海燕论坛

快速回复 返回顶部 返回列表